MLU FORUM  

Go Back   MLU FORUM > MILITARY VEHICLES > The Softskin Forum

Notices

Reply
 
Thread Tools Display Modes
  #31  
Old 05-04-19, 04:35
Tony Smith's Avatar
Tony Smith Tony Smith is offline
No1, Mk 2** (I'm back!)
 
Join Date: Feb 2003
Location: Lithgow, NSW, Australia
Posts: 5,042
Default

Quote:
Originally Posted by David Herbert View Post
Tony,
Are those Maple Leaf 5 stud ones 16" or 18" ? I am guessing 18" as they look very much like the 10 stud GM/H ones and also have twelve studs holding the halves together.

David
Quote:
Originally Posted by Mike Kelly View Post
BTW that's a nice original Maple Leaf truck . Are those 10.50 x 18 tyres
Yes, 10.50-18 tyres on 18x8.00 rims.
__________________
You can help Keep Mapleleafup Up! See Here how you can help, and why you should!

Last edited by Tony Smith; 03-06-19 at 01:09.
Reply With Quote
  #32  
Old 10-04-19, 21:16
Philippe Jeanneau's Avatar
Philippe Jeanneau Philippe Jeanneau is offline
Registered User
 
Join Date: Dec 2018
Location: United States
Posts: 92
Default 16" 8 bolt Split Rims for 1.5 ton Australian Chevrolet Trucks 1940-1945

Quote:
Originally Posted by Jacques Reed View Post
Hi Philippe,

Using Lang's link definition on my Ford Kelsey 16" CMP wheels the setback is 4-1/4" (108 mm) as measured.

A bit of parallax in the photo but when I got down to the level to the wheel the measurement to the bottom of the angle iron from the mounting flange is 4-1/4"

Hope this helps.

Cheers,
Hello Jacques,

Thank you very much for the clear answer and photos, it is a great starting point… As for the rest of the thread, I was hoping it would stay close to the specifics of my question, since after reading all the additional wealth of information, while useful in many ways (it can become difficult to retain very fast) since we start to deal with other details that are not pertinent at the moment...

Please forgive the seemingly ungrateful reply, but it is not my intent... I appreciate all the additional very technical details, but I was only hoping we would remain within the confines of wheels that use the GM 10 X 7.25 bolt circle with a 4.75" pilot hole and designed with either 8 or 12 studs holding the two halves together. I realize that turns into 2 different wheels and more apparently!

For the sake of simplicity, shall we first classify the wheels that only share the 10 x 7.25 bolt circle with a 4.75 pilot hole? Perhaps that should have been the title of my thread. My apology for it is a huge learning curve here...

To the point, and as indicated by Tony Smith, on the 10 x 7.25 bolt circle wheels manufactured by GM/Holden Australia we have:

1- 16" x 6" (8 bolt split wheel)

2- 18" x 8" (12 bolt split wheel)

The next style would be a 5 x 7.25 bolt circle and 4.75 pilot hole also, unique only to Australian Maple Leaf Trucks, also made by Holden…

A) 18" x 8" (12 bolt split wheel)

Furthermore, I understand that there was also a 20”x 8” (12 bolt split wheel) that shared the same bolt circle with and pilot hole; manufactured also by General Motors in Holden Australia… Is that correct?

Lastly, would it be accurate to say that all these 16”, 18” and 20” split wheels share a backspace equivalent to the 16” x 6.0” (8 bolt) Ford Kelsey wheel which was 4 -1/4”? or...
Does anyone have the definitive answer?? Which would bring us to the next maze of information- that would pertain to all the different axle combinations (with or without wheel spacers) used under these 1.5 ton 133” wheel base vehicles with a combination of either one of these wheels…

Last edited by Philippe Jeanneau; 21-03-20 at 19:19.
Reply With Quote
  #33  
Old 10-04-19, 23:55
Tony Smith's Avatar
Tony Smith Tony Smith is offline
No1, Mk 2** (I'm back!)
 
Join Date: Feb 2003
Location: Lithgow, NSW, Australia
Posts: 5,042
Default

Quote:
Originally Posted by Philippe Jeanneau View Post
As for the rest of the thread, I was hoping it would stay close to the specifics of my question,

For the sake of simplicity, shall we first classify the wheels that only share the 10 x 7.25 bolt circle with a 4.75 pilot hole? Perhaps that should have been the title of my thread. My apology for it is a huge learning curve here...

To the point, and as indicated by Tony Smith, on the 10 x 7.25 bolt circle wheels manufactured by GM/Holden Australia we have:

1- 16" x 6" (8 bolt split wheel)

2- 18" x 6" (12 bolt split wheel)

The next style would be a 5 x 7.25 bolt circle and 4.75 pilot hole also, unique only to Australian Maple Leaf Trucks, also made by Holden…

A) 18" x 6" (12 bolt split wheel)

Furthermore, I understand that there was also a 20” x 6” (12 bolt split wheel) that shared the same bolt circle with and pilot hole; manufactured also by General Motors in Holden Australia… Is that correct?

Lastly, would it be accurate to say that all these 16”, 18” and 20” split wheels share a backspace equivalent to the 16” x 6.0” (8 bolt) Ford Kelsey wheel which was 4 -1/4”? or...
My response to you (without the benefit of photos, as I can't view them on Facebook) was regarding the 16" 8 bolt (8x lug bolt, 8x dividing rim bolt, I would describe that as "8 Bolt") rim, which I said was the standard WD/DND rim made by Kelsey, GM, And Dunlop. It appears they were also made by Sankey. This is not a 10 x 7.25 bolt circle wheel. As far as I know, this rim was never manufactured by GM/H in Australia. This is the same rim as pictured by Andrew H and Jacques.

On 1533 trucks (and 15cwt CMP's) this was fitted with a 9.00-16 tyre, while on CC60L trucks (and 30cwt CMP's) it was fitted with 10.50-16 tyres. These are Canadian vehicle designs and production features.
Attached Thumbnails
CHEVROLET 26.jpg   1941-2.JPG  
__________________
You can help Keep Mapleleafup Up! See Here how you can help, and why you should!
Reply With Quote
  #34  
Old 11-04-19, 00:03
Tony Smith's Avatar
Tony Smith Tony Smith is offline
No1, Mk 2** (I'm back!)
 
Join Date: Feb 2003
Location: Lithgow, NSW, Australia
Posts: 5,042
Default

The GM Canada 1543X2 had 18" wheels with a 10 x 7.25 bolt circle and featured 8 dividing rim bolts. Again, this is a Canadian design and production vehicle. The X2 indicates the vehicles were assembled in the UK. Some of these vehicles came complete to Australia, but they also saw service with other countries, such as Poland.
Attached Thumbnails
1543x2 MCP 3ton 4x2 GMEXL2 648-221241.jpg   Chevrolet  GM 1543 MCP 4x2..jpg  
Attached Images
 
__________________
You can help Keep Mapleleafup Up! See Here how you can help, and why you should!
Reply With Quote
  #35  
Old 11-04-19, 00:11
Tony Smith's Avatar
Tony Smith Tony Smith is offline
No1, Mk 2** (I'm back!)
 
Join Date: Feb 2003
Location: Lithgow, NSW, Australia
Posts: 5,042
Default

ONLY the GM/H assembled vehicles has the 18" wheels with a 10 x 7.25 bolt circle and 12 dividing rim bolts. I have not seen a chassis code for these vehicles, but they are not completely manufactured by GM/H. The chassis and major components were sourced from GM Canada, with local items like the cabs and wheels made here. As their payload rating is the same as the 1543X2, but assembled here, the code may well be something like 1543X4 (X4 for Australian assembly).
Attached Thumbnails
127780  AUSTRALIA. LORRIES,  BLOOD STORAGE (AUSTRALIAN)..JPG   Chev MCP.JPG   img_0297-2.jpg  
Attached Images
 
__________________
You can help Keep Mapleleafup Up! See Here how you can help, and why you should!
Reply With Quote
  #36  
Old 11-04-19, 05:45
Bob Carriere Bob Carriere is offline
Moderator
 
Join Date: Mar 2003
Location: Hammond, Ontario
Posts: 5,259
Default Hey that's my book......

Hi Tony

I see we are reading from the same Chevrolet army parts book.........

This has me puzzled....... the parts list only references * indicating 32x6 tires or X indicating 10:50 x 16 tires........ from what you are saying it seems to indicate they were fitted with 18 x 10:50 tires/rims when re-asssembled in the UK for Poland or Australia.

So complicated.

Bob C
__________________
Bob Carriere....B.T.B
C15a Cab 11
Hammond, Ontario
Canada
Reply With Quote
  #37  
Old 11-04-19, 06:14
Tony Smith's Avatar
Tony Smith Tony Smith is offline
No1, Mk 2** (I'm back!)
 
Join Date: Feb 2003
Location: Lithgow, NSW, Australia
Posts: 5,042
Default

Quote:
Originally Posted by Bob Carriere View Post
Hi Tony

I see we are reading from the same Chevrolet army parts book.........
from what you are saying it seems to indicate they were fitted with 18 x 10:50 tires/rims when re-asssembled in the UK for Poland or Australia.

This has me puzzled....... So complicated.

Bob C
The black and white "Factory" pics are at Oshawa, so there was no change to the vehicle on arrival at it's destination. The X2 indicates it's destination, or perhaps it's contract. I wish David Hayward was here to explain in his rambling way the oddities of Chevrolet contracts because they really are a confusing mess.

Gimme a Ford anyday.
__________________
You can help Keep Mapleleafup Up! See Here how you can help, and why you should!
Reply With Quote
  #38  
Old 11-04-19, 06:42
Bob Carriere Bob Carriere is offline
Moderator
 
Join Date: Mar 2003
Location: Hammond, Ontario
Posts: 5,259
Default Tony.........I just can't say it......

Fffffssst.......Ffffuu........fsssstt

I have a hard time with 4 letter furds ..... I mean words......

Yes do miss David.... we are a dying breed!!!!!!
__________________
Bob Carriere....B.T.B
C15a Cab 11
Hammond, Ontario
Canada
Reply With Quote
  #39  
Old 22-03-20, 18:58
Philippe Jeanneau's Avatar
Philippe Jeanneau Philippe Jeanneau is offline
Registered User
 
Join Date: Dec 2018
Location: United States
Posts: 92
Default 16" 8 Bolt Split Rims...

Trying to make this a reality... So far I have the following information on the original Canadian 16" wheel:

Rim Size: 16"
Width: To be determined...
Backspace: 4-7/8

Bolt Pattern: 10 x 7.25"
Flange thickness: 19/64" chamfered for wheel nuts.

Hub wheel Studs: 9/16"-18
Bolt hole: 19/32" straight cut.
Pilot Hole: 4.75"

Joining bolts: (8) 7/8-14 UNF

Backspace: 4-7/8”
Outer half: 3-15/16"

The new wheel (minus the stem valve protector) would have different backspaces front and rear and be wider (at least 8") to fit the U.S. spec. 1.5 trucks...

Click image for larger version

Name:	74930988_2659280367466068_965008108357156864_n - Copy.jpg
Views:	5
Size:	192.8 KB
ID:	112637 Name:  trailer-double-plated-wheel-rim-500x500.jpg
Views: 192
Size:  27.9 KB Click image for larger version

Name:	DSC_6720 - Copy n.jpg
Views:	2
Size:	581.6 KB
ID:	112639 Click image for larger version

Name:	DSC_6759 - Copy - Copy R.JPG
Views:	2
Size:	203.8 KB
ID:	112641

Last edited by Philippe Jeanneau; 25-03-20 at 18:29.
Reply With Quote
  #40  
Old 23-03-20, 00:12
Tony Smith's Avatar
Tony Smith Tony Smith is offline
No1, Mk 2** (I'm back!)
 
Join Date: Feb 2003
Location: Lithgow, NSW, Australia
Posts: 5,042
Default

Quote:
Originally Posted by Philippe Jeanneau View Post
Trying to make this a reality... So far I have the following information on the original Australian 16" wheel:

Rim Size: 16"
Width: 8"
No such thing.

The 16" rims were made in Canada and were 6" wide.

The only Australian-specific wheels were 18".
__________________
You can help Keep Mapleleafup Up! See Here how you can help, and why you should!
Reply With Quote
  #41  
Old 23-03-20, 06:47
Philippe Jeanneau's Avatar
Philippe Jeanneau Philippe Jeanneau is offline
Registered User
 
Join Date: Dec 2018
Location: United States
Posts: 92
Default 16" 8 Bolt Split Rims for 1.5 ton Trucks...

Thank you for the correction and information... Were the 18" 10x7.25 (10 bolt) Australian wheels 6" wide also?

Why is it so difficult to find the right information or photographs? I have been told that the width of these wheels is anywhere from 6", 6-1/2" and even 7" wide...

But does anyone even know how to measure the width of a wheel correctly? Something so simple doesn't have to be so bloody complicated!

If someone has the correct information with supporting evidence please post it- all the information!... I am sure many will find it useful.
Reply With Quote
  #42  
Old 23-03-20, 11:22
Hanno Spoelstra's Avatar
Hanno Spoelstra Hanno Spoelstra is online now
MLU Administrator
 
Join Date: Feb 2003
Location: The Netherlands
Posts: 14,934
Default Wheel geometry

Quote:
Originally Posted by Philippe Jeanneau View Post
But does anyone even know how to measure the width of a wheel correctly? Something so simple doesn't have to be so bloody complicated!

If someone has the correct information with supporting evidence please post it- all the information!... I am sure many will find it useful.
It's not that difficult really, see for example: https://www.oponeo.co.uk/blog/how-to...wheel-markings

This drawing pretty much sums up the basics of wheel geometry:

Name:  131.gif
Views: 149
Size:  8.2 KB
Reply With Quote
  #43  
Old 23-03-20, 16:56
Philippe Jeanneau's Avatar
Philippe Jeanneau Philippe Jeanneau is offline
Registered User
 
Join Date: Dec 2018
Location: United States
Posts: 92
Default 16" 8 Bolt Split Rims for 1.5 ton Trucks...

Hello Hanno,

Thank you very much for the clear and informative response... That should clarify the issue of measuring and terminology once and for all...

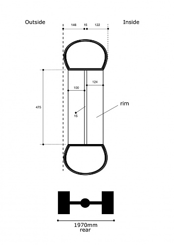
As for the original Canadian 10 x 7.25 bolt circle (8 Bolt) wheel , I have been given the following information by someone kind enough to drive 500 Km to a museum in Australia where this truck resides... His attached diagram illustrates the backspace as well as the depth of the outer half... Mind you, these measurements were taken from the spare wheel on top of the truck...

If you take the last image (CMP wheel for reference) since I have nothing else, we could safely say that the width of the outer lip is approximately 1-1/16" or 26.98 mm...

So, if we take the outer wheel half measurement of 100 mm, minus the lip or 26.98 mm, = 73.02 mm. Following suit, take the inner backspace measurement of 124 mm minus 26.98 mm = 97.02 mm...

To finalize (trying to obtain the true width of the wheel) 73.02 mm + 97.02 mm + 15.00 mm ( two combined wheel flanges) = 185.4 mm or 7-9/32... a hair over 7-1/8"... So it seems that these Canadian wheels were not 6" wide, but about 7-1/8"... Remember also that a tire that was about 260mm wide was fitted to this rim in most cases...

Is this closer to the truth? Unless someone else has this exact rim without a tire, and can provide exact measurements with photos, this is all I have after a year of digging...

Click image for larger version

Name:	thumbnail_IMG_5271.jpg
Views:	4
Size:	203.9 KB
ID:	112653

Click image for larger version

Name:	thumbnail_IMG_5264.jpg
Views:	2
Size:	192.4 KB
ID:	112656 Click image for larger version

Name:	thumbnail_LRDG Wheel.jpg
Views:	4
Size:	60.4 KB
ID:	112657

Click image for larger version

Name:	thumbnail_IMG_5255.jpg
Views:	12
Size:	233.8 KB
ID:	112658 Name:  Pic 3 split rim (1).jpg
Views: 162
Size:  66.2 KB
Reply With Quote
  #44  
Old 23-03-20, 19:30
Bob Carriere Bob Carriere is offline
Moderator
 
Join Date: Mar 2003
Location: Hammond, Ontario
Posts: 5,259
Default The best way to determine size of rims......

Early ones were stamped by GM later models by Kelsey-Hayes...........

PS..... Also have some pictures of Kelsey-Hayes stamped 1943 that I can't find and one wheel that made it to Canada from the UK ....the stamp is on the inside of the rim under the flap....can't find that picture either.
Attached Thumbnails
HPIM0946resized.jpg  
__________________
Bob Carriere....B.T.B
C15a Cab 11
Hammond, Ontario
Canada

Last edited by Bob Carriere; 24-03-20 at 02:06.
Reply With Quote
  #45  
Old 23-03-20, 23:41
Hanno Spoelstra's Avatar
Hanno Spoelstra Hanno Spoelstra is online now
MLU Administrator
 
Join Date: Feb 2003
Location: The Netherlands
Posts: 14,934
Default Australian 18" wheels

Quote:
Originally Posted by Philippe Jeanneau View Post
As for the original Canadian 10 x 7.25 bolt circle (8 Bolt) wheel, I have been given the following information by someone kind enough to drive 500 Km to a museum in Australia where this truck resides... His attached diagram illustrates the backspace as well as the depth of the outer half... Mind you, these measurements were taken from the spare wheel on top of the truck...

If you take the last image (CMP wheel for reference) since I have nothing else, we could safely say that the width of the outer lip is approximately 1-1/16" or 26.98 mm...

So, if we take the outer wheel half measurement of 100 mm, minus the lip or 26.98 mm, = 73.02 mm. Following suit, take the inner backspace measurement of 124 mm minus 26.98 mm = 97.02 mm...

To finalize (trying to obtain the true width of the wheel) 73.02 mm + 97.02 mm + 15.00 mm ( two combined wheel flanges) = 185.4 mm or 7-9/32... a hair over 7-1/8"... So it seems that these Canadian wheels were not 6" wide, but about 7-1/8"... Remember also that a tire that was about 260mm wide was fitted to this rim in most cases...

Is this closer to the truth? Unless someone else has this exact rim without a tire, and can provide exact measurements with photos, this is all I have after a year of digging...
Hello Philippe,

Very nice that someone (a MLU member?) went through the trouble of getting you those measurements. What I see there is wheel with a diameter of 18 inch. You refer to it as Canadian wheel, but this wheel was not made in Canada (or the UK) but only in Australia.

I think you have no other options than:
1) Source a set of 18" wheels from Australia.
2) Have a set of rims manufactured, going by the dimensions you got here as a guide line. As long as your new wheel dimensions are close to those in your measurements, and the tyre will fit, you will be fine. The tyre of choice will dictate a wheel width as it is related to the wheel diameter. E.g. check the specs for the Simex ST24/SA24 on my webpage: http://www.mapleleafup.nl/cmpvehicles/tyres_900-16.html.

Speaking of tyres, your choice of 18" tyres is very limited, so I would opt for:
3) Buy a set of 16" (or 20") W.D. spilt rims and use these as-is, or have the centers welded/ machined to fit your hub.

I am not sure which type of "Desert Chev" you're trying to recreate, but I am sure that a much more than presentable vehicle can be built by making some shortcuts to make things practical? From what I have seen so far it looks great already!

Hope this helps
Reply With Quote
  #46  
Old 24-03-20, 20:15
Philippe Jeanneau's Avatar
Philippe Jeanneau Philippe Jeanneau is offline
Registered User
 
Join Date: Dec 2018
Location: United States
Posts: 92
Default 16" 8 Bolt Split Rims for 1.5 ton Trucks...

Hello Hanno,

Indeed, I am very grateful to Stuart Kirkham for going out of his way to get this information for me... It has been a year for me trying to come up with accurate verifiable information and it is not easy! As for the specifics of this particular wheel, there seems to be some confusion... I cannot exactly say at this time who manufactured this 16" (8 Bolt) split wheel, (English, Canadian, or Australian) but we know it is indeed 16" X ?? and it exists... I just find it hard to believe that no one else has come forward with any more detailed photos of it to nail it down once and for all...

All I am trying to do is to come up with something very close to it, still working on it as an option using the backspaces from the 16" solid wheels I had made recently... The tires could be the Goodyear (R-3) 9.50-16, but ideally it would be the 10.50-16 (R-3) style tire that I'm trying to bring forward also... I will check the specs for your Simex tires, thank you...

As for my truck, I initially wanted to recreate a truck similar to TE-HAI (T9) but I quickly realized that it would be a shame to cut such a nice cab; secondly, it was beyond my resources/means to remove my existing rear box and recreate the new one exactly as that truck in the IWM... Combined with that, the extreme difficulty in getting all the necessary information or measurements/templates to make it happen... Going at it alone, it would take me years! On the plus side, I have finally been able to figure out the sand channels which will be a nice addition to the truck. Next are the front sand mat brackets, they may take some time but it will happen... Then I will have to find someone to make the mats, properly...

Back to your question, the type I have recreated is loosely based on a early LRDP vehicle that could have been used by anyone... Certainly not a fighting vehicle! I have seen many different early trucks with different configurations, so I thought that having a rear canvas and troop seats could be believable enough for now... At least it is the right color, the fenders are widened and have decent wheels... Somewhat of a decent start for a single effort... Someday I hope to come close to the IWM vehicle. In the meantime, I hope to make the 2 piece wheels and 10.50-16 sand tires a reality...

I certainly would appreciate any suggestions you may have to improve the project... Thank you.

Click image for larger version

Name:	51407547_10213615344998489_523306550580740096_o.jpg
Views:	5
Size:	517.0 KB
ID:	112667 Click image for larger version

Name:	thumbnail_IMG_5267.jpg
Views:	3
Size:	231.5 KB
ID:	112668 Click image for larger version

Name:	thumbnail_IMG_5268.jpg
Views:	4
Size:	184.0 KB
ID:	112669 Click image for larger version

Name:	thumbnail_IMG_5272.jpg
Views:	2
Size:	230.6 KB
ID:	112670 Click image for larger version

Name:	20664491_1549694775091305_1499069345465378175_n R.jpg
Views:	3
Size:	252.7 KB
ID:	112671
Reply With Quote
  #47  
Old 24-03-20, 21:00
Philippe Jeanneau's Avatar
Philippe Jeanneau Philippe Jeanneau is offline
Registered User
 
Join Date: Dec 2018
Location: United States
Posts: 92
Default 16" 8 Bolt Split Rims for 1.5 ton Trucks...

Hello Hanno,

Back to the 16" or 18" wheel debacle/confusion... There is indeed a Australian made 18" (12 bolt) rim that was made... I discarded that option also for the difficulty in finding tires and being more expensive than the 16"...

Name:  thumbnail_Chev MCP.jpg
Views: 132
Size:  51.9 KB Click image for larger version

Name:	75446604_3184279801646911_6711263901855514624_o (1).jpg
Views:	2
Size:	61.6 KB
ID:	112677
Click image for larger version

Name:	74607579_3067865096621716_2275010207794855936_n.jpg
Views:	1
Size:	116.6 KB
ID:	112678 Click image for larger version

Name:	41721299_475055512969949_1323702237658087424_o.jpg
Views:	1
Size:	735.5 KB
ID:	112679 Click image for larger version

Name:	41719309_475055536303280_1891233087233196032_o.jpg
Views:	1
Size:	765.6 KB
ID:	112680
Reply With Quote
  #48  
Old 24-03-20, 23:59
Hanno Spoelstra's Avatar
Hanno Spoelstra Hanno Spoelstra is online now
MLU Administrator
 
Join Date: Feb 2003
Location: The Netherlands
Posts: 14,934
Default Wheels are driving us nuts ;-)

Quote:
Originally Posted by Philippe Jeanneau View Post
As for the specifics of this particular wheel, there seems to be some confusion... I cannot exactly say at this time who manufactured this 16" (8 Bolt) split wheel, (English, Canadian, or Australian) but we know it is indeed 16" X ?? and it exists... I just find it hard to believe that no one else has come forward with any more detailed photos of it to nail it down once and for all...

All I am trying to do is to come up with something very close to it, still working on it as an option using the backspaces from the 16" solid wheels I had made recently... The tires could be the Goodyear (R-3) 9.50-16, but ideally it would be the 10.50-16 (R-3) style tire that I'm trying to bring forward also... I will check the specs for your Simex tires, thank you...
Seeing you sketch with measurements, I deducted the wheel diameter was 475mm, adjusting for measurement errors that's about 18 inch.

So indeed it is an unknown 16" split rim wheel. If a 10.5-16 tyre is fitted, the rim width should be 6.5" - this I deduct from a Michelin XL sheet for 9.00R16 and 11.00R16 tyres. Maybe it is 7" but no more than that.

So then it's option 3): buy 16" rims and modify those. The regular 16" W.D. split rim is assymetric and 6" wide. You could use these and widen them by having a .5"or 1" widening ring welded in the narrow half. There are many companies, epecially in the US, doing this.
Reply With Quote
  #49  
Old 25-03-20, 01:41
Andrew H. Andrew H. is offline
Registered User
 
Join Date: Dec 2010
Location: New Zealand
Posts: 201
Default Perspective

Hi Phillipe,
All this navel-gazing about rim sizes and bolt spacings is academic unless it is matched by equally diligent research about correct body styles, numbering and truck names – things that are far more readily visible to anyone admiring your truck.
For example, if the truck you are restoring has the "waterfall" (AKA "art deco") grille, that type of truck was not used by the LRDP. The Long Range Desert Patrol used the earlier 1939-40 WA Chevrolets which were significantly different in appearance. In the LRDP “Te Hai” was actually a Ford V8 15cwt and was numbered T3 (T9 was “Tutira”). It was not until March 1942 (by which time the LRDP had become the LRDG) that the waterfall grille trucks (eg 1533X2 and 1311X3) appeared in the LRDG. There are excellent books available on all of these topics.
Reply With Quote
  #50  
Old 25-03-20, 02:51
Wayne Henderson Wayne Henderson is offline
Member since 1998
 
Join Date: Feb 2003
Location: Western Australia
Posts: 471
Default rim size

The truck with 10x50 tyres is one of several imports that arrived in Australia, diverted when Singapore fell. A 6 inch rim with 10 bolt stud pattern. Truck served in W.A. with Second Armoured, still carried overseas ARN on the bonnet.
Reply With Quote
  #51  
Old 25-03-20, 04:31
Philippe Jeanneau's Avatar
Philippe Jeanneau Philippe Jeanneau is offline
Registered User
 
Join Date: Dec 2018
Location: United States
Posts: 92
Default 16" 8 Bolt Split Rims for 1.5 ton Trucks...

Hello Hanno,

The funny thing is that the sketch with the measurement of 475 mm or (18-45/64") corresponds to the truck in the Australian museum with 10-50-16 tires... I'm inclined to say that this 16" (10 bolt) wheel might be at least 7" wide or so, given the information I have from Stuart... For some added perspective, my solid 16"x 8" wheels measure 446.8 mm or (17-9/16") and still accommodate a 9.50-16 tire... So the true size, or circumference must be the area in contact with the tire bead... Both would have to be the same. Anything outside of that area is obviously irrelevant and may differ from manufacturer to manufacturer... Does that make sense?

To touch on Andrew H. comment, I have the earlier truck, identical to a WA model, which I have seen with solid 16" wheels (IWM) and what seems to be 16" split wheels (laying in the dessert) but I may be mistaken. Maybe someone else can shed light into that mystery also...

Rest assured that if I could get my hands on a bunch of CMP wheels (or any suitable wartime wheel for a Chevrolet) I would cut them and re center them to fit the bolt circle and backspace of my truck... But there is nothing like that here in USA...

Click image for larger version

Name:	DSC_6643R.jpg
Views:	5
Size:	562.1 KB
ID:	112686 Name:  16rim10stud.jpg
Views: 131
Size:  57.2 KB Click image for larger version

Name:	thumbnail_1940 Chevy 1.5 ton d.jpg
Views:	4
Size:	228.6 KB
ID:	112690 Click image for larger version

Name:	12604885_618542351626991_3277714672120095838_o.jpg
Views:	5
Size:	748.3 KB
ID:	112691 Click image for larger version

Name:	thumbnail_IMG_5271.jpg
Views:	2
Size:	203.9 KB
ID:	112692
Reply With Quote
  #52  
Old 25-03-20, 05:04
Andrew H. Andrew H. is offline
Registered User
 
Join Date: Dec 2010
Location: New Zealand
Posts: 201
Default

Phillipe,
Thats a great looking WA Chev truck! And very appropriate for the LRDP if you remove the cab. Attached is a chart showing the various possible names and numbers to maintain authenticity. This is an extract from "Incident at Jebel Sherif" by well known authors Brendan O'Carroll and Kuno Gros. A great read if you can still get it. Apologies for straying off topic.
Attached Thumbnails
Truck names chart.jpg  
Reply With Quote
  #53  
Old 25-03-20, 14:33
Hanno Spoelstra's Avatar
Hanno Spoelstra Hanno Spoelstra is online now
MLU Administrator
 
Join Date: Feb 2003
Location: The Netherlands
Posts: 14,934
Default "Does that make sense?"

Quote:
Originally Posted by Philippe Jeanneau View Post
The funny thing is that the sketch with the measurement of 475 mm or (18-45/64") corresponds to the truck in the Australian museum with 10-50-16 tires... I'm inclined to say that this 16" (10 bolt) wheel might be at least 7" wide or so, given the information I have from Stuart... For some added perspective, my solid 16"x 8" wheels measure 446.8 mm or (17-9/16") and still accommodate a 9.50-16 tire... So the true size, or circumference must be the area in contact with the tire bead... Both would have to be the same. Anything outside of that area is obviously irrelevant and may differ from manufacturer to manufacturer... Does that make sense?

To touch on Andrew H. comment, I have the earlier truck, identical to a WA model, which I have seen with solid 16" wheels (IWM) and what seems to be 16" split wheels (laying in the dessert) but I may be mistaken. Maybe someone else can shed light into that mystery also...

Rest assured that if I could get my hands on a bunch of CMP wheels (or any suitable wartime wheel for a Chevrolet) I would cut them and re center them to fit the bolt circle and backspace of my truck... But there is nothing like that here in USA...
Hello Philippe,

Re. "does that make sense?": as to the measurement of wheels, I compared Stuarts measurements with the basics of wheel geometry:

The wheel diameter is measured at the tyre bead location. So the subject wheel has a diameter of 16", which means that 16" tyres will fit. Apparently Stuart measured the diameter from flange to flange, obviously more than 16". The rim width is also measured at tyre bead level. This will probably be 7", given the overall rim width is approx 9.5".

The pictures you posted of the Chevrolet WA (they state it is a WB) at the IWM show a single piece rim not unlike the one you have on your truck. You plan to add a fatter tyre and plan to have tyres manufactured. I do understand you'd like the diamond sand pattern, but you could also see if a tyre like the 11.00-16 Michelin XZL is available in your region. It has a nice chunky military appearance and they are obviously larger than bar tread 9.00-16 tyres.

If you want to fit split rims, chances are one of the Canadian MLU members could source a set of 4 or 5 standard 16" W.D. spilt rims for you, strap them to a pallet and have them shipped to Florida via a backload or grouped transport. If you're not in a hurry shipping should not break the bank. Just place a wanted ad on here and see what the reactions are.

Or just use the yellow rim you posted if those fit your hubs already.

I agree with Adrew, let's not make this too academic. You've got a great truck as it is, finding the unfindable wheels and going down the path of having tyres manufactured, will not add much joy to owning this truck. Well that just my 2 cents worth

Name:  131.gif
Views: 109
Size:  8.2 KB Click image for larger version

Name:	thumbnail_LRDG Wheel.jpg
Views:	1
Size:	60.4 KB
ID:	112700
Reply With Quote
  #54  
Old 25-03-20, 21:48
Philippe Jeanneau's Avatar
Philippe Jeanneau Philippe Jeanneau is offline
Registered User
 
Join Date: Dec 2018
Location: United States
Posts: 92
Default 16" 8 Bolt Split Rims for 1.5 ton Trucks...

Hello Hanno,

You're absolutely right, the differences in the measurements have to do with wheel geometry, so we're in complete agreement... Indeed, I tried to recreate the solid wheels from the truck (wish I could see the data tag) at the IWM as best I could; first, finding a company willing to do it and then dealing with whatever new materials were currently available. Aside from the technical constraints of not having the original HD Timken hubs on the front axle...

At any rate, it is done, and I'm happy with that...BUT, by adding a fatter tire I only wanted to again, be closer to the original as possible, and with a pattern used back then...At almost 35" x 10" the original Goodyear R-3's would fill the wheel well nicely, as opposed to the 32" x 9" profile of the current model. Yet, I picked the R3's because they were the only thing available, and the closest available in size...

While on the subject still, I would prefer the Dunlop Sand Tire (similar to modern turf tire) but there is only one person with a set in the world, and appears it will remain that way... I cannot find any information whatsoever, other than "Reinforced for Heavy Service" don't know what the model was called back then, or any construction details... So again, I went with what I could find here and now... As for the 11.00-16 Michelin XZL's the only few available in new condition were priced at almost $700.00 USD from a Dodge Power Wagon dealer! so you can understand why at that point I thought, buy some tires that are reasonable now, and then make a bloody mold-produce a tire that will be proportionate, as the WWII tire was...

The other problem with the Michelin 11.00-16 XZL tire is the size... At about 38"in diameter it is way too tall for the front end of the truck... The 900-16's might be the closest to the truck at 36.1", but again they're unobtanium... So round and round we go!...

As for the split rims, I think I am going to go your route, since so far, I cannot find anyone to make them... Amazingly, the yellow rim looks identical to the wartime rim but I am yet to receive a go on that with my specifications...

I wasn't trying to be too academic (I know the topic has been beaten to death to some extent) but, just like my truck cannot really be a frontline LRDG truck because of the cab, I have to find another role for it that would be plausible... As I appreciate Andrew's insight/information regarding the WA trucks on his list, I do not want to take away in any shape, miss-represent be disrespectful or grossly inaccurate by borrowing one of the truck numbers... So, I still need help in that area...

The unfindable wheels are in Australia, the unfindable tires in the UK... They may not add much more joy, but unfortunately for me, I'd love to have them, for I am a perfectionist!

Thank you, I do get your point, though the other side, the satisfaction is knowing the intricate details of how it was built, even though I may never be able to do it myself...
Attached Thumbnails
75158898_2659280410799397_7259748280869847040_n.jpg   Dunlop 4.JPG   0FC5939D-CB76-4E33-871A-8EBCC83D8AA4.jpg   DSC_6643R - Copy.JPG  

Last edited by Philippe Jeanneau; 25-03-20 at 21:55.
Reply With Quote
  #55  
Old 26-03-20, 10:59
DaveBuckle's Avatar
DaveBuckle DaveBuckle is offline
Does he look like a Blitz
 
Join Date: Oct 2017
Location: Nowra Hill
Posts: 105
Default Have learnt much

I've learnt quite a lot here - thanks all - so my C15A wheels are interchangeable with my CS8.
I am also about to procure one of half a dozen Lend Lease and Mapleleaf trucks - I have a better idea of what am looking at wheel-wise now!
__________________
- Dave - (or Andrew)
1942 Blitz F15A
1969 Land Rover S2A FFT
Reply With Quote
  #56  
Old 26-03-20, 19:07
Bob Carriere Bob Carriere is offline
Moderator
 
Join Date: Mar 2003
Location: Hammond, Ontario
Posts: 5,259
Default Learning is a life ling process.....

Dave

Is a CS8 the basic frame of the HUP....... in which case it has the 16 in. rims but only 6 bolts to the brake drum....... while the C15A uses the 8 bolt pattern.

Looking forward to seeing photos of your new acquisition....... front back sides underneath for frame stiffener and some focus on the tires, rims and bearing cap in the centre of the rim...

Cheers
__________________
Bob Carriere....B.T.B
C15a Cab 11
Hammond, Ontario
Canada
Reply With Quote
  #57  
Old 27-03-20, 04:44
DaveBuckle's Avatar
DaveBuckle DaveBuckle is offline
Does he look like a Blitz
 
Join Date: Oct 2017
Location: Nowra Hill
Posts: 105
Default To clarify

Maybe too many abbreviations: Surprised to learn that my Chevy Blitz (C15A) has the same wheels as my Morris CS8. Went and had a look and took a pic to double check.
And yes, will post a pic once I have procured one of those trucks - maybe a while now with the way things are progressing, but then again, has been nearly a year in waiting - I'm sure we all know how that goes with these rusty relics ...
PS - I thought it was great that the Morris tyres "still held air" - seems they are full of concrete (or similar) can't even lift the spare to vertical off the ground ...
Click image for larger version

Name:	Wheel.jpg
Views:	5
Size:	1.42 MB
ID:	112751
__________________
- Dave - (or Andrew)
1942 Blitz F15A
1969 Land Rover S2A FFT
Reply With Quote
  #58  
Old 27-03-20, 09:05
Lynn Eades Lynn Eades is offline
Bluebell
 
Join Date: May 2003
Location: Tauranga, New Zealand
Posts: 5,541
Default

Philippe, can I side track you to find out some details on the tyres on the front of your truck. I have a 900 x 16 tyre that was made in South Africa (on the tyre it says" made in the Republic of Suid Afrika") I assume yours are 900 x 16? Are they currently available? Are the dot rated? I need to pull it out for another look. It came on a 3/4 ton WC Dodge. (Can I mention a Dodge in this thread?)
__________________
Bluebell

Carrier Armoured O.P. No1 Mk3 W. T84991
Carrier Bren No2.Mk.I. NewZealand Railways. NZR.6.
Dodge WC55. 37mm Gun Motor Carriage M6
Jeep Mb #135668
So many questions....
Reply With Quote
  #59  
Old 27-03-20, 12:20
Tony Smith's Avatar
Tony Smith Tony Smith is offline
No1, Mk 2** (I'm back!)
 
Join Date: Feb 2003
Location: Lithgow, NSW, Australia
Posts: 5,042
Default

Quote:
Originally Posted by Lynn Eades View Post
Philippe, can I side track you to find out some details on the tyres on the front of your truck. ... I assume yours are 900 x 16? Are they currently available? Are they dot rated?
http://www.mapleleafup.net/forums/sh...353#post260353
__________________
You can help Keep Mapleleafup Up! See Here how you can help, and why you should!
Reply With Quote
  #60  
Old 27-03-20, 13:12
Mike K's Avatar
Mike K Mike K is offline
Fan of Lord Nuffield
 
Join Date: Feb 2003
Location: Victoria, Australia
Posts: 5,947
Default Run Flat

Quote:
Originally Posted by DaveBuckle View Post
Maybe too many abbreviations: Surprised to learn that my Chevy Blitz (C15A) has the same wheels as my Morris CS8. Went and had a look and took a pic to double check.
And yes, will post a pic once I have procured one of those trucks - maybe a while now with the way things are progressing, but then again, has been nearly a year in waiting - I'm sure we all know how that goes with these rusty relics ...
PS - I thought it was great that the Morris tyres "still held air" - seems they are full of concrete (or similar) can't even lift the spare to vertical off the ground ...
Attachment 112751
Dave the CS8 originally had Run Flat tyres ( heavy ) ..no spare wheel was issued. I've cut open four of those RF tyres with a chain saw and then a angle grinder to cut the bead cable, horrible job . An old guy at Whittlesea Nth of Melbourne told me his dad purchased a CS8 around mid 1945.. the CS8 was knocked back for rego because it had no spare wheel , the owner went back to the Morris dealer and a spare CS8 was wrecked just for the wheels to go with the others for sale. The old boy Marshall said they had two trips to Sydney in the CS8 towing a horse float ! 40 mph all the way . The CS8 was traded in around 1952 for a new Land Rover . I was offered the rear axle housing from the spare donor truck. Funny thing is another Whittlesea CS8 surfaced years later , a guy at Bendigo swap had a CS8 radiator surround and a set of wheels for sale , he told me his elderly neighbour had a CS8 converted into a camper back in the 1950s , it had been sitting unused for many years. As the CS8 was towed out of the neighbours yard, the chassis broke in half ... rusted through. He salvaged the cast brass body ID plate which i have.
__________________
1940 cab 11 C8
1940 Morris-Commercial PU
1941 Morris-Commercial CS8
1940 Chev. 15cwt GS Van ( Aust.)
1942-45 Jeep salad
Reply With Quote
Reply


Posting Rules
You may not post new threads
You may not post replies
You may not post attachments
You may not edit your posts

BB code is On
Smilies are On
[IMG] code is On
HTML code is Off

Forum Jump

Similar Threads
Thread Thread Starter Forum Replies Last Post
Tyre Rims Chevrolet MCP Lionelgee The Restoration Forum 13 25-09-13 07:19
Wanted: MLVW bolt together rims / tires MacRae For Sale Or Wanted 9 22-03-13 14:57
13" Split Rim Needed Jim Price The Restoration Forum 6 06-05-09 17:57
13 inch Split Rims Robert For Sale Or Wanted 2 11-05-04 18:57


All times are GMT +2. The time now is 17:10.


Powered by vBulletin® Version 3.8.4
Copyright ©2000 - 2025, Jelsoft Enterprises Ltd.
Copyright © Maple Leaf Up, 2003-2016